| |
|
|
Сертификаты и разрешения (если Вы не нашли нужный сертификат рекоммендуем https://npptec.ru/documents/)
|
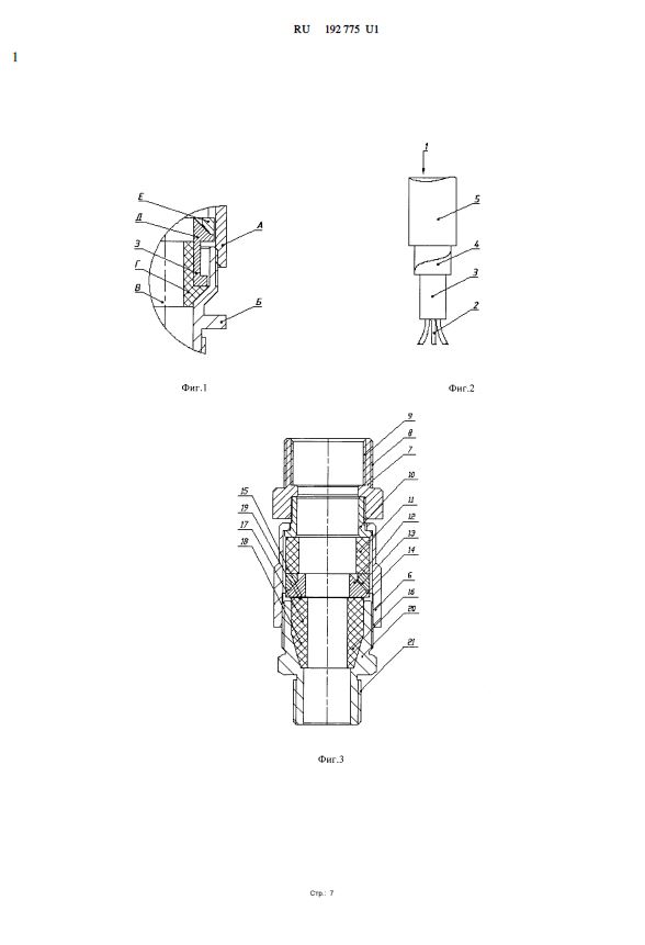
Описание полезной модели к патенту
|
|
|
|
|
|
|
| |
|
|
|
|
|
|
|
Наш сайт использует файлы cookies для обеспечения работоспособности и улучшения качества обслуживания. Продолжая просмотр страниц сайта, вы автоматически соглашаетесь с использованием данных технологий.
|
|