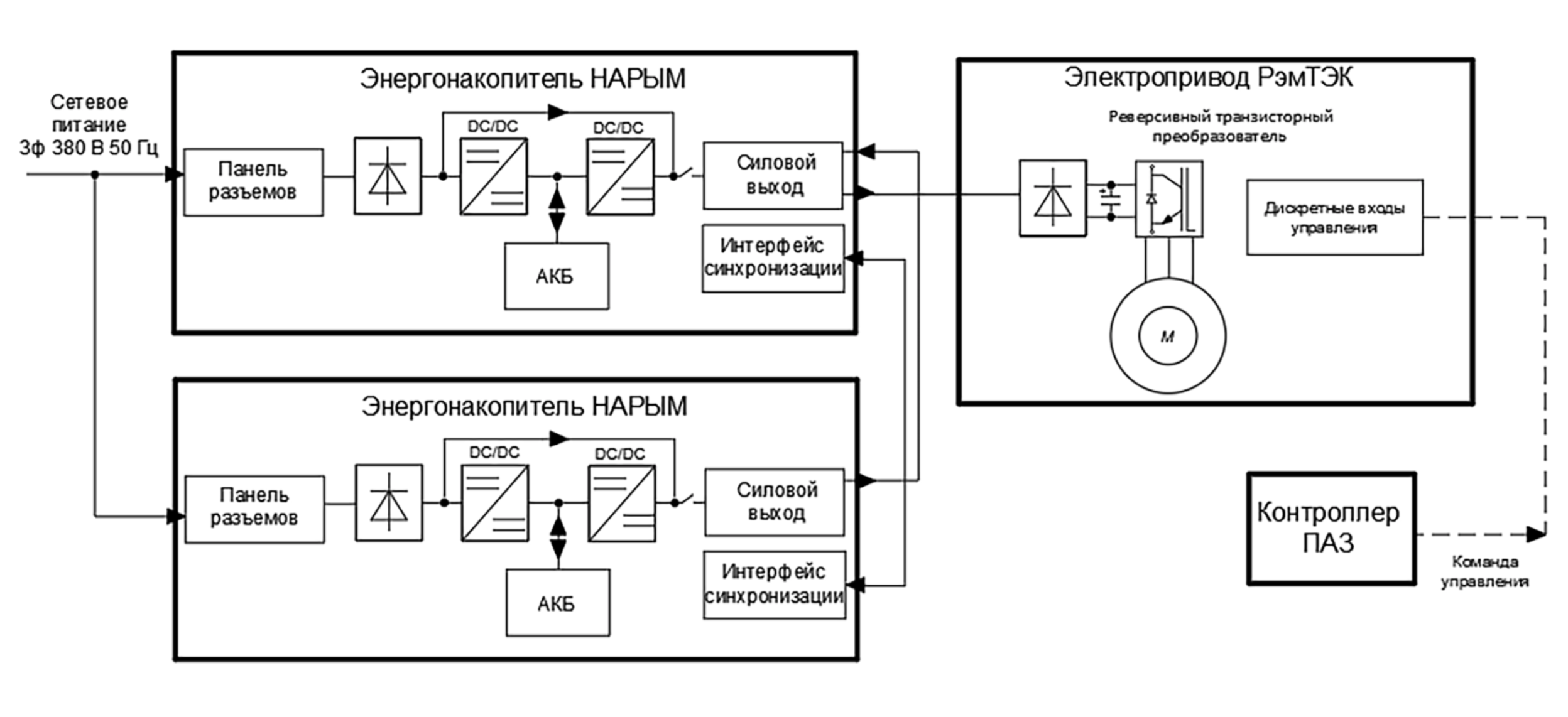
Энергонакопитель является бесперебойным источником питания архитектуры on-line. При этом, для обеспечения быстрого времени готовности полевого оборудования к работе, предусмотрена подача выпрямленного сетевого напряжения в нагрузку через по схеме байпас. Контроллер управления обеспечивает управле- ние и диагностику всех компонентов энергона- копителя, а также обеспечивает синхронизацию и выравнивание мощности выходных преобра- зователей при работе на мощную нагрузку.
Аккумуляторная батарея имеет модульную конструкцию и состоит из ячеек. Каждая ячейка имеет встроенную систему BMS, индикаторы заряда, систему термостабилизации, интерфейс USB для считывания данных. Ячейки являются заменяемым элементом.
Встроенная система термостабилизации обе- спечивает работу энергонакопителя и подклю- ченного оборудования в диапазоне температур окружающей среды от -63 до +50 °С.
Энергонакопитель имеет дискретные входы и выходы, а также интерфейс Modbus RTU для свя- зи с системой телемеханики (РСУ или ПАЗ).
Параллельное соединение энергонакопителей НАРЫМ для питания электропривода РэмТЭК мощностью более 3 кВт

Технические характеристики энергонакопителей НАРЫМ
Входное напряжение питания
380 В 3ф 50 Гц 220 В 1ф 50 Гц
Выходное напряжение энергонакопителя
Модификации: 530В DC; 300В DC
Конструктивное исполнение
Взрывозащищенное. 1Ex d IIB T4 Gb Х Для размещения по месту установки электрооборудования
Модификация по накопленной энергии
675 кДж, 1125 кДж
Максимальная мощность для подключаемой нагрузки
1,5 кВт, 3 кВт
Время работы при максимальной мощности нагрузки
180 сек
Время работы при мощности нагрузки 200 Вт
30 мин
Максимальный ток по каналу 24 В
2А
Температура эксплуатации
от -63°С до +50°С
Защита от пыли и влаги
IP67
Время заряда
30 мин до 80% емкости 2 часа до 100%
Байпасная схема питания
Да. Готовность оборудования к работе после включения входной сети
Интеграция в АСУ ТП
Дискретные выходы, входы, RS-485 (Modbus RTU)